信件公示

标题: 关于食品安全管理制度电子档
来信人: 湘阴县念军超市
来信时间: 2019-10-02 10:00:26
内容:
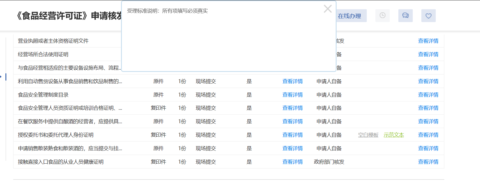
尊敬的岳阳市的各位领导您们好在这里,我要向你们反映一个情况。我当前正在申请《食品经营许可证》,但是因为已改为网上申办,申办的流程官网有,但是申办需准备资料介绍都非常简单,不能有效快捷指明。比如要求的《食品安全管理制度》在网上都无法找到官方网站的指导范文下载。建议是否可在办事指南上更加详细的指明需要的资料需要去什么地方咨询或者办理?这样可以加快办理进度,谢谢!

附件1:TIM截图20191002095849.png

受理回复

回复部门: 市市场监督管理局
回复时间: 2019-10-09 16:21:06
回复内容:

您好!

来信收悉。现就您反映的“网上申办《食品经营许可证》参考资料不齐全,《食品安全管理制度》无参考模板”问题回复如下:

1. 若您感觉申办的参考资料不齐全,可登录“湖南政务服务网”

http://zwfw-new.hunan.gov.cn/hnvirtualhall/serviceguide/jsp/serviceguideck.jsp?approve_id=884B03B8C2E9C786E053661515AC0FFA&type=xndtbm&dghy=&cscjwt=&org_id=,该网站有办证的所有流程信息和具体材料要求。

2. 在网上申报过程中,如遇到问题,您可以咨询当地市场监管部门。湘阴县市场监管局联系电话:0730-2223384。

3. 个体工商户在申办《食品经营许可证》时,不需要提供《食品安全管理制度》。

岳阳市市场监督管理局

2019年10月9日

信件回复 满意度调查 查看满意度调查汇总 >>

回复内容评价:

(非常满意)

回复速度评价:

(非常满意)